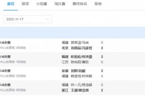
体育资讯11月17日讯 全运会羽毛球男双四分之一决赛全部结束,刘雨辰/冯彦哲、刘阳/刘毅、欧烜屹/何济霆、王昶/谢浩南四队选手挺进四强。
男双半决赛对阵情况如下:
刘雨辰/冯彦哲 VS 刘阳/刘毅
欧烜屹/何济霆 VS 王昶/谢浩南
男双四分之一决赛比分详情:
刘雨辰/冯彦哲2-0郭若涵/马尚
欧烜屹/何济霆2-0陈柏阳/黄荻
刘阳/刘毅2-0刘阳/刘毅
王昶/谢浩南2-0林一凡/杨佳峄
上一篇: 全运会羽毛球女双半决赛:贾一凡/张驰vs黄东萍/谭宁
下一篇: 全运会羽毛球女单1/4决赛:陈雨菲险胜张艺曼 晋级四强
比赛中
02-07 12:30
J联赛
东京FC
1
:
鹿岛鹿角
观看比赛:
高清线路
更多
足球友谊赛
阿德莱德SC
0
地铁之星
02-07 13:00
韩女甲
BNK釜山萨姆女篮
52
富川KEB女篮
J2/J3联
RB大宫
2
松本山雅
NCAA
德克萨斯南方大学
佛罗里达农工大学
意甲西甲重返训练场
国王对阵湖人直播
88篮球
金伯利马德普拉塔vs罗森直播
布鲁日队vs阿森纳队直播
足球在线观看免费吧手机版
nba金州勇士vs雄鹿
武汉三镇 vs上海申花