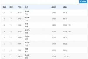
体育资讯11月17日讯 全运会田径女子400米栏决赛,莫家蝶以55秒19的成绩夺得金牌,孔莹蓥获得银牌,欧莹获得铜牌。
女子400米栏决赛成绩详情如下:
1 莫家蝶 55.19
2 孔莹蓥 56.10
3 欧莹 57.29(PB)
4 邹亦凡 57.46(SB)
5 丁依蕊 59.14
6 陆长薇 59.22
7 刘薇 59.34
8 王久香 1:02.16
上一篇: 5金18岁张展硕夺男子1500米自由泳金牌,横扫5枚自由泳金牌
下一篇: 身体第一!18岁张展硕退出男子400米混合泳决赛,决赛4道空缺
比赛中
02-07 15:30
澳威超
FC圣乔治
3
:
0
南岸狼队
观看比赛:
高清线路
更多
韩篮甲
首尔三星雷电
80
83
原州东浦新世代
印尼U20
德瓦FCU20
塞曼巴东U20
02-07 15:45
澳威甲
北方虎
2
坎特贝利班克斯敦FC
02-07 16:00
NCAA
冈萨加大学
俄勒冈州立大学
nba雷霆vs红直播
NCAA西密歇根大学vs坎贝尔大学直播
nba76人 vs魔术
德内普vs明斯克FC直播
cba青岛vs 山西
科莫队 vs 佛罗伦萨队
国王 vs 快船
nba独行侠vs 雄鹿直播